Hickman Grand Piano Action
by Richard Vance
Animation by Richard Vance & John Rhodes
---FRAME BY FRAME ANALYSIS OF THE ACTION---
P1.
The action is at rest, between notes.
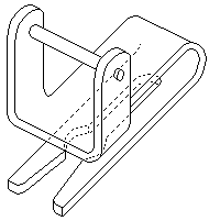
The key is up and the hammer is in the rest position, almost all the way down. It is supported just above the soft felt of the hammer rest rail by the red toggle. This two piece jointed toggle in the Hickman action replaces both the jack and the repetition lever in a conventional action. Note that the joint between the toggle and the key is a pinned flange, not just an upward pushing capstan, so the movable action components (red and blue) are always rigidly connected, in the vertical direction, to the key. |
P2 The player begins to push the key down, at the beginning of a
note.
The rising tail of the key pushes on the red toogle to lift the blue lever. The violet hammer shank, hinged to the blue lever, rests on the blue pad, so the lever and the hammer are moving as a single system at this point. This action is analogous, in a conventional action, to the initial lifting of the hammer shank with the jack. |
P3.
The point where letoff action begins is reached.
At this point, the upper blue adjusting screw comes in contact with the upper member of the toggle. This is analogous to the point where the letoff button first touches the horizontal arm of the jack in a conventional piano. |
P4.
The upper member is pushed over center.
Further raising of the key tail causes the blue member to continue to raise the hammer, thus moving the blue upper adjusting screw to until it puses on the toggle. This causes the toggle to begin to fold, which shortens the total distance between the far ends of the toggle. This motion continues until further rotation of the blue member is halted by the lower blue adjusting screw fetching up against the felt of the fixed green stop rail. This is analogous to the jack being smoothly pulled back out of contact with the knuckle in a conventional action, but without the jerk sometimes caused by lumps in the conventional knuckle. |
P5.
Letoff is complete.
The blue member can no longer continue to lift the hammer; being stopped by the lower adjusting screw. (The picture somewhat exaggerates the distance of the hammer from the string at this point, for clarity.) But the hammer continues to rise, rotating now around the joint between it and the blue element, just like a hammer rising freely to the string after letoff in a conventional piano action. |
P6.
The note sounds.
When the hammer hits the string it decelerates suddenly and a large deceleration force is generated at the contact point. Some of the kinetic energy in the hammer is transferred to the string, and some of this energy is manifested in the string as vibration -- sound. The magnitude of the sound is proportional to the energy content of the hammer, in turn proportional to the hammer velocity squared. The harder the key is pushed, the greater the force developed to initially accelerate the moving parts in steps P2 through P5. Thus the hammer energy content at letoff (and ultimately the loudness) is greater. To the pianist it appears to be the result of a harder (actually a faster) push on the key. Since the hammer head and the string are elastic elements, a good deal of this energy is reflected back to the hammer in the opposite direction, as a 'bounce'. The vertical component of this sudden shock force reversal is opposed by a reaction force at the hammer flange, acting to begin to rotate the blue lever clockwise. |
P7.
The hammer then rebounds downward.
The rebounding hammer shank soon comes back into contact with the blue pad, and now the hammer plus the blue lever is again a single rotating system. The compass spring bends outward and attempts to push the blue lever up. The force of the spring is adjusted so that it just lifts the hammer at rest. But the downward force between the hammer and the blue pad is now both the static torque of the hammer weight and the dynamic torque due to the clockwise rotational inertia of the rebounding hammer. The combined forces exceed the upward force of the spring, so the blue lever plus hammer system continues to rotate downwards; and the red toggle is compelled to collapse further. This is analogous to what happens in a conventional piano after the hammer rebounds, wherein the hammer goes way down past the top of the jack and pushes the repetition lever way down as well, in spite of the upward force of the repetition spring. |
P8.
The hammer continues to rebound.
As the hammer system continues to move downward, the upward force of the spring decelerates it. Some of the hammer's downward kinetic energy will thus be transferred to elastic energy stored in the spring. But, in all but the pianist's softest blows, the energy stored in this rather weak spring when it's fully collapsed is less than the available energy in the rotating hammer, so the system continues to move down. Thus the red toggle is caused to collapse further, 'winding up' the spring. |
P9.
The hammer tail encounters the backcheck.
The hammer tail now encounters the backcheck, fixed in its upwards position by the fact that the key is still depressed. A combination of friction between (a) the buckskin surface of the backcheck and the hammer tail, (b) the horizontal elasticity of the backcheck, and (c) the upward component of the elasticity of the key plus backcheck system, now absorbs the remaining energy of the hammer system, causing it to finally stop moving. With a very loud blow, the downward motion may continue beyond the normal rest position, and the moving hammer will fetch up against the stop rail, where the stop rail felt will absorb any remaining hammer energy. This deceleration takes a bit of time, so the hammer moves down a bit after it initially encounters the backcheck. During this time, the backcheck pad is compressed slightly to the rear by the wedging action of the hammer tail. This is enough to create a horizontal elastic force system between the buckskin backcheck pad and the hammer tail. This force produces a frictional grasp between the hammer tail and the buckskin, so the hammer remains stuck in its full down position. |
---PAUSE WHILE THE NOTE CONTINUES TO SOUND---
Now the pianist is ready to end the note, by lifting his finger from
the key.
R1.
The key is first released
When the key is released and the rear of the key lowers just a little bit, the backcheck moves just a little to the rear, away from the hammer tail. This is enough to loosen the frictional grasp between the hammer tail and the backcheck. At this point, the hammer begins to be free, and can move. |
R2.
The spring may lift the hammer slightly.
Now comes the critical part of the sequence, the 'repetition action', which distinguishes the modern grand action from the upright action or the older 'square piano' action. The goal is to cause the toggle to straighten as soon as possible. The toggle can not transmit upward force until it is completely straight. One wants this to happen as soon as possible during the return of the key, so that the piano will be ready to play another note immediately, even if the pianist does not allow the key to return to its full-up position during rapid play. The hammer, being at rest at the beginning of this phase, now exerts only the torque due to its static weight on the toggle system. In this case, the outward force of the spring is enough to begin to separate the blue lever from the key. This relative movement 'stretches' the length of the red toggle, and causes it to go straighter. Note that the spring must be strong enough to lift the hammer at rest, but not strong enough to defeat the playing action described above. To make this critical adjustment easily, Dr. Hickman cleverly made the blue lever with four possible holes in the blue lever, where the upper end of the spring can be attached. Because the radial distance between these holes varies, vis-à-vis the rotation point of the blue lever plus hammer system, the same spring can exert different upward torques on the system, depending on which of the four holes is used. Thus one can make the final repetition spring force adjustment easily, without a lot of trial-and-error spring bending. This is analogous to the action of the repetition lever and spring in a conventional piano, where the upward force of the repetition lever allows the jack to go back under the knuckle before the key fully reaches bottom. |
R3.
The toggle straightening action continues.
As soon as the key has fallen enough that the letoff screw no longer interferes with the leftward movement of the upper half of the toggle, the toggle can go back completely straight under the 'stretching' influence of the spring before the key bottoms fully. The hook, shown on the lower right side of the upper toggle, fetches up against the padded hook on the upper right side of the the lower toggle, preventing the toggle from unfolding 'over center'. Just as in a conventional action, this 'relift' action is virtually imperceptible unless the key is released very slowly, and it may not have time to occur at all if the key us released smartly. But it can occur, allowing early reset of the jack under any conditions of play. |
R4.
The key continues to fall.
Once the toggle is fully straight, the distance between the two ends of the spring becomes fixed. Now the spring can no longer make any parts move relative to each other. But the entire system, now 'rigid' within itself, can continue to rotate clockwise around the green flange. Thus the hammer and everything else rotates downward to the rest position by gravity. But the system is already able to play, by transferring an upward key movement through the straightened toggle again, in case the pianist starts to play the subsequent note a little early. |
R5.
Back to the starting position.
If the pianist does not choose to play a subsequent note immediately, the system returns by gravity to the final rest position. Note that the hammer shank is not resting on the stop rail felt, but just above it. The hammer is supported on the toggle, ready to receive another upward impulse, without any lost motion. That is just as in a conventional piano, where the hammer at rest is held just a hair above the jack end by the repetition lever spring. But in Hickman's system, this critical adjustment is made in one place only, by raising or lowering the capstan with a clever clip which connects the lower toggle member to the capstan (see the patent drawing). In a conventional action, one has to fuss with three adjustments -- the capstan, the repetition lever lift limit button; and the jack limit button -- to get this exactly right. |
As a further comment in connection with this, but applicable to all the frames --
One of the merits of the Hickman design is the speed and ease with which the final regulation adjustments can be made. The initial adjustments -- key dip and leveling, adjustment of the spring, and establishing of the rest position with the capstan -- can be made before the action is installed. But then, the final adjustments can be made with the action installed, and these adjustments are far less interdependent than in a conventional piano.
The initial point where the letoff begins is adjusted with the upper blue screw. The final extent of the letoff, where the hammer begins to fly free, is adjusted by the lower blue screw. That single screw also sets the absolute upper limit of the repetition 're-lift'. Although this is not clear in the illustrations, the photos and the patent drawing shows that these screws are accessible from the front, using a screwdriver held horizontally. All these adjustments, as well as a final trim of the capstan lift, do not interfere with one another very much.
Contrast this procedure with regulating a conventional piano action. There, most of the adjustments have to be done from the top, with the action slid out of the piano, and many adjustments involve more than one screw, button, or wire to bend. Unless the adjustments are done correctly and in exactly the right order, any given adjustment is liable to interact with a previous adjustment. One's arms begin to ache, from sliding the action in and out of the piano. With the Hickman action, perhaps only one or two 'slide outs' are required, and then only if one has to move the spring a hole or two, in case the spring shows up too weak or strong.
Factory regulation time is money, and Dr. Hickman was well aware of this.
Capstan clip

20 February 2002
P1.
The action is at rest, between notes.
P2 The player begins to push the key down, at the beginning of a
note.
P3.
The point where letoff action begins is reached.
P4.
The upper member is pushed over center.
P5.
Letoff is complete.
P6.
The note sounds.
P7.
The hammer then rebounds downward.
P8.
The hammer continues to rebound.
P9.
The hammer tail encounters the backcheck.
R1.
The key is first released
R2.
The spring may lift the hammer slightly.
R3.
The toggle straightening action continues.
R4.
The key continues to fall.
R5.
Back to the starting position.
