by Mike Ames
Drawings copyright 1991 by Santa Fe Associates.
Text copyright 2000 by M. R. Ames.
Photos and illustrations by Santa Fe Associates and Mike Ames.
Originally published in Mechanical Music, Vol. 47, No 1, Spring 2001.
Republished with kind permission of Musical Box Society International and the author.
This information was presented at the 2000 MBSI convention in San Jose, California.
Mortier 97 key in the author's collection which has been MIDlized. The
organ will play either
book music for which it was originally designed or will play via the
MIDI system.
This article is offered for persons seeking enlightenment on the attributes of MIDI, or for those interested in using MIDI to operate their automatic musical instruments.
Throughout history, automatic musical instruments have been designed to use data storage systems. By circa 1250, there were automata with singing birds operated by mechanical data storage mechanisms. A clockwork-carillon has been described circa 1400. By 1500, drums and trumpets were added. By 1700, the mechanical data storage mechanisms had evolved to pinned barrels. As time went on, and people grew tired of swapping out bulky barrels, it occurred to automatic music makers that there had to be a better way of storing musical data. From about 1750, the Jacquard Loom used cardboard platelets to set the warp and the weave, and sometime around 1850, the first perforated cardboard appeared in music machines. R. W. Pain is reported to have invented a paper roll-operated pneumatic system in 1880. Welte introduced a paper roll operated pneumatic system in their orchestrion manufacturing in 1887. There have been variations, such as the Tel-Electric Co. using metal instead of paper in their rolls, and the Mills Novelty Co. reading their rolls electrically, but there have been few changes in data storage techniques since 1905. It is logical to assume that if the early music makers had known how to do it, MIDI would have been used to facilitate data storage. It is surprising that it has taken another century for something like MIDI to come along. (Cams 1200, Barrels 1700, Cardboard 1850, Rolls 1880, MIDI 1982.) [1,2,3]
MIDI was established in 1982 as a hardware and software standard (universal language) which would make it possible to exchange musical information, musical notes, tone changes, and expression controls between different musical instruments or other multipurpose devices such as sequencers, computers, and tone generators. This ability to transmit and receive data was primarily conceived for live performances, although subsequent developments have shown a large potential for use in recording studios, and off-line in production and composition environments [4].
With MIDI protocol it is possible to record the holes in a piano roll or in book music with a photocell or a switch. Each hole in this record can be a MIDI event. These MIDI events can be stored in computer memory or on floppy disks for archival purposes or for playback for entertainment. Some of the benefits offered by MIDI include: repair of damaged music, tempo adjustment, correction of erroneous notes, creation of new musical arrangements, and remote tune control.
A MIDI operated music system can be compared to a pneumatically operated music system, in that a MIDI disk can be thought of as a piano roll, and a MIDI event decoder is similar to a piano tracker bar and valves. A MIDI disk player can perform like a piano spool frame, and a power supply can be compared to a piano pump. The piano is the equivalent of a tone generator.
A simplified description of MIDI is as follows: MIDI is a two-wire system with a low-voltage electrical current turned on and off rapidly to form pulses. These pulses are called bits. The bits are gathered in groups of eight and called bytes. A group (generally three) of bytes can be thought of as a time-related MIDI event which represents the start of a musical note (A,A#,B,C,C# etc.). A second MIDI event will shut off a particular note. A tune is made up of a large (500-50,000) group of these events, and can be saved, just as a computer text file is stored. These events can be recorded and manipulated with a musical editor in a computer, just as a text file can be created and edited with a text editor. Most modern computers are equipped with sound cards, so you can play back and audit MIDI files at your computer. The computer is only used to store and play back the musical data; the computer does not "generate" the music.
A MIDI player system can be applied to roll-operated musical instruments. The encoded MIDI events in a computer file can be decoded and used to operate electrical valves. The MIDI-operated valves can open and close the tracker bar holes just as the holes in the piano roll do. These MIDI events will then play the musical tune just as the holes in the piano roll do. This type of installation will still allow the roll to play the instrument in the usual way. The "PowerRoll" is an example of this type of system [5].
Sketch A.
Sketch A is a pictorial (not to scale) of a tracker bar and a "direct electric magnet." The direct electric magnet is a standard pipe organ electromagnetic valve [6]. In use, the valve is "teed" into the tracker bar tubing. The tracker bar holes are closed by the unattached roll leader and the direct electric valve is energized by the MIDI system. The piano pneumatic system is undisturbed. All modifications are noninvasive and reversible.
A player system can also be applied to book-operated musical instruments. As with roll-operated instruments, the holes in book music can be recorded as a MIDI file and can be decoded and used to operate electro-pneumatic valves in a book-operated organ (like a dance organ). The valves can be installed in such a way that the organ will be either book-operated or MIDI operated. All modifications are noninvasive and reversible.
Sketch
B is a pictorial (not to scale) of a keyframe, a pouch board, and the AMI
chest [7,8]. The normal wind pressure flow from the keyframe follows the
line labeled "original" to the pouch board. That is, when a key moves upward
into a hole in a book, wind flows out of the keyframe to the pouch board
and inflates the pouch, which operates a chest valve, which allows wind
to a pipe. With the MIDI installation, the wind from the keyframe flows
to the pouch board through the AMI chest. When operating from MIDI, the
AMI chest valve supplies the pressure to the pouch by MIDI actuation of
this chest valve.
Upon cessation of the note, the exhaust from the pouch is routed back
to the keyframe in the usual fashion.
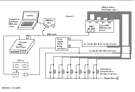
The AMI Player System operation is shown in sketch C. The source of MIDI tune files is shown on the left. Either a computer [9,10] or a MIDI disk player [11] supplies the MIDI signal to the MIDI decoder [12]. A 12-volt power supply [13] connects to the MIDI decoder ribbon cables which are plugged into the rear of the decoder. The other ends of the ribbon cable wires are soldered to each of the direct electric magnets.
As depicted in sketch C, for general purpose playback it is much quicker
and simpler to use a MIDI disk player (with start, stop, pause, and tune-select
buttons). If you choose a disk player, it will still be necessary to have
a computer in the background to edit and change tempos. I have never seen
two people who agree on the tempo of a march or a rag. The computer will
be slower initially, because of booting time and extra key strokes to start,
compared to a disk player. It is not necessary to go out and buy another
computer. The slowest secondhand IBM clone computer ever made will be fast
enough. It is not necessary to use Windows in your computer if you can
find an old DOS copy of Cakewalk or another editor/sequencer pro gram.
If you are using Windows you can purchase a copy of Cakewalk [14] that
operates under Windows.
Sketch C.
Examples of "MIDIized" instruments are numerous. They range from small monkey organs and street organs to large dance organs. Player and expression pianos, orchestrions, barrel organs, pipe organs, and Violanos have also been MIDIized. Recently we have seen and heard a MIDIized harpsichord playing Internet baroque MIDI tunes.
In our hobby we have all heard the old saying, "A poor piano restoration will not be improved by the addition of a well-restored player mechanism." It is also true that a MIDI player system will not make a badly restored or tired musical instrument play better. It is absurd to assume that anyone who cares about the integrity and originality of an antique musical instrument would purposely harm it in any way. If anything, the MIDI installer is apt to be more sensitive to these subtleties. It is possible and a good idea, to install a MIDI player system without injuring or changing the instrument in any way. With appropriate design, the MIDI system can be removed without evidence that it was ever there. The anti-MIDI purists have also suggested that, in addition to ruining instruments, MIDIization will cause people to throw away or abuse their music rolls. This is not the case. If anything, MIDI will preserve the rolls by reducing handling.
The creation of MIDI tune files by the recording of music rolls may be most easily accomplished by the use of a standard roll frame and a pouch chest. The weighted or spring-loaded pouches can have small magnets attached to each pouch that move toward a switch (Hall effect device). As the pouches are actuated by the piano roll holes passing across the tracker bar, the pouches move closer to, or further away from, the Hall switch. The Hall switch is connected to a MIDI encoder [11]. The MIDI signals from the encoder can be recorded in a computer or onto a floppy disk player/ recorder. Other techniques can be used, such as modified optical page scanners or IR photo sensors. These systems will make MIDI recordings that are adequate to listen to, and adequate to operate automatic musical instruments. Most of these recordings are not accurate enough to be used to make master roll (perforator) quality recordings.
MIDI recording of keyless book music can be accomplished by methods similar to roll recording. One way to record key-type book music is to build a keyframe and design the keys to operate small adjustable microswitches. The signals from these switches can be recorded, as with rolls.
Arranging new tunes is readily done with MIDI sequencers. The efforts of a skilled experienced musician are obviously more apt to produce better results than those of an amateur. There are several MIDI editing programs (sequencers like Cakewalk [14]) to assist you in entering musical notes into your computer. If it is note for note, as in a piano score to a piano keyscale, the difficulties are mostly of expression. When arranging for other more divisionally oriented instruments, such as dance organs, band organs, Violanos, orchestrions, and non-chromatic instruments, you must also take into account the fact that you need to restructure the music in order to have it fit within the range of available notes in the instrument. Expression, percussion, registers, and ancillary functions such as lights, band leaders, and shut-off, are also encoded for individual instruments.
There has been much published about copyright issues in many of our journals and on the MMD [15]. It is difficult to find the copyright holder of each piece of music that you might want to use. You then discover the Harry Fox agency in New York, which theoretically represents most of the copyright holders. Your troubles are over. No. It seems that the US Copyright Office says that each time you copy a copyrighted tune [except for your own purposes] you owe the copyright holder $0.066. Yes, the decimal is in the correct place (6.6 cents). Now we can start to see why Harry Fox won't talk to us. The rules were made for the "biggies"; 100,000 copies or so will start to make it worthwhile for everyone. When it comes to playing for the public, or turning on a radio in a restaurant, a whole new group of rules apply.
Mike Ames <ames@foxtail.com>
tel.: 858-481-1663 (8 AM - 5 PM PST)
Mike Ames is a long-time collector from Solana Beach, CA. He has used his engineering background to develop MIDI systems described in this article. Mike is currently a Trustee of MBSI.
Sources of services and software:
References:
"van Leeuwen" Decap 70 key street organ book and MIDI operated
in the Mike and Marilyn Ames collection.
01 March 2002
